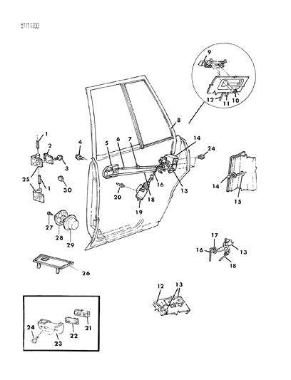
Diagram (1 of 1): BODY - DOORS AND RELATED PARTS DOOR, REAR SHELL, HANDLES AND CONTROLS P,D,C,J,E,T 41,45,49
Ref No.
Part No. & Part Description
Price & Qty.
Part No. &
Part Description
1
4336115BUSHING, Hinge- BUSHING, Hinge
- Require Quantity: 2
1
5
4184252PLATE w/NUT, Mounting
6
4184270LINK w/SLEEVE, Right- LINK w/SLEEVE, Right
- Fitting Vehicle Options: P,D,C
6
4184271LINK w/SLEEVE, Right- LINK w/SLEEVE, Left
- Fitting Vehicle Options: P,D,C
6
4184530LINK w/SLEEVE, Right- Right
- Fitting Vehicle Options: J,E,T
6
4184531LINK w/SLEEVE, Right- Left
- Fitting Vehicle Options: J,E,T
7 
8
4310064DOOR SHELL, Rear, Right- PANEL, Repair, Right
- Fitting Vehicle Options: PDC 41,45
8
4310065DOOR SHELL, Rear, Right- PANEL, Repair, Left
- Fitting Vehicle Options: PDC 41,45
8
4310066DOOR SHELL, Rear, Right- Right
- Fitting Vehicle Options: J,E,T 41
8
4310067DOOR SHELL, Rear, Right- Left
- Fitting Vehicle Options: J,E,T 41
8
4342126DOOR SHELL, Rear, Right- Right
- Fitting Vehicle Options: Limo
8
4342127DOOR SHELL, Rear, Right- Left
- Fitting Vehicle Options: Limo
8
4342464DOOR SHELL, Rear, Right- Right
- Fitting Vehicle Options: J,E,T 41
8
4342465DOOR SHELL, Rear, Right- Left
- Fitting Vehicle Options: J,E,T 41
8
4364276DOOR SHELL, Rear, Right- Right
- Fitting Vehicle Options: Limo
8
4364277DOOR SHELL, Rear, Right- Left
- Fitting Vehicle Options: Limo
8
4397472DOOR SHELL, Rear, Right- DOOR SHELL, Rear, Right
- Fitting Vehicle Options: P,D,C,41
8
4397473DOOR SHELL, Rear, Right- DOOR SHELL, Rear, Left
- Fitting Vehicle Options: P,D,C,41
8
4397474DOOR SHELL, Rear, Right- Right
- Fitting Vehicle Options: P,D,C 45
8
4397475DOOR SHELL, Rear, Right- Left
- Fitting Vehicle Options: P,D,C 45
9
6028674HANDLE, Exterior Door- SCREW, Handle
- Require Quantity: 4
12
4184118LINK, Outside Handle to Latch- LINK, Outside Handle to Latch
- Fitting Vehicle Options: P,D,C
- Require Quantity: 2
12
4184598LINK, Outside Handle to Latch- Fitting Vehicle Options: J,E,T
- Require Quantity: 2
14
4310543STRIKER- STRIKER
- Require Quantity: 2
14
6500483STRIKER- NUT, Striker
- Require Quantity: 2
16
4184286LINK, Electric Latch to Motor- LINK, Electric Latch to Motor
- Fitting Vehicle Options: P,D,C
- Require Quantity: 2
16
4184742LINK, Electric Latch to Motor- Right
- Fitting Vehicle Options: J,E,T
- Require Quantity: 2
16
4184743LINK, Electric Latch to Motor- Left
- Fitting Vehicle Options: J,E,T
- Require Quantity: 2
18
4184540LINK w/SLEEVE, Right- Right
- Fitting Vehicle Options: J,E,T
18
4184541LINK w/SLEEVE, Right- Left
- Fitting Vehicle Options: J,E,T
18
4184698LINK w/SLEEVE, Right- LINK w/SLEEVE, Right
- Fitting Vehicle Options: P,D,C
18
4184699LINK w/SLEEVE, Right- LINK w/SLEEVE, Left
- Fitting Vehicle Options: P,D,C
18
4339607LINK w/SLEEVE, Right- LINK, Inside Latch
- Fitting Vehicle Options: Limo
- Require Quantity: 2
18
4339608LINK w/SLEEVE, Right- BELLCRANK, Release, Right
- Fitting Vehicle Options: Limo
18
4339609LINK w/SLEEVE, Right- BELLCRANK, Release, Left
- Fitting Vehicle Options: Limo
18
4339610LINK w/SLEEVE, Right- LINK, Inside Release, Right
- Fitting Vehicle Options: Limo
18
4339611LINK w/SLEEVE, Right- LINK, Inside Release, Left
- Fitting Vehicle Options: Limo
18
4339612LINK w/SLEEVE, Right- LINK, Inside Lock, Right
- Fitting Vehicle Options: Limo
18
4339613LINK w/SLEEVE, Right- LINK, Inside Lock, Left
- Fitting Vehicle Options: Limo
18
4339614LINK w/SLEEVE, Right- LINK, Outside Lock, Right
- Fitting Vehicle Options: Limo
18
4339615LINK w/SLEEVE, Right- LINK, Outside Lock, Left
- Fitting Vehicle Options: Limo
18
4339616LINK w/SLEEVE, Right- LINK, Latch Bellcrank
- Fitting Vehicle Options: Limo
- Require Quantity: 2
18
4339617LINK w/SLEEVE, Right- LINK, Latch, w/Power Locks
- Fitting Vehicle Options: Limo
- Require Quantity: 2
18
4339618LINK w/SLEEVE, Right- LINK, Bellcrank, Right
- Fitting Vehicle Options: Limo
18
4339619LINK w/SLEEVE, Right- LINK, Bellcrank, Left
- Fitting Vehicle Options: Limo
19
4184156SOLENOID, Door Lock- SOLENOID, Door Lock
- Require Quantity: 2
19
4184172SOLENOID, Door Lock- CLIP, Solenoid
- Require Quantity: 2
21
4280842HOUSING, Remote Control- SEAL, Door Latch
- Fitting Vehicle Options: J,E,T
- Require Quantity: 2
21
4336328HOUSING, Remote Control- Black, w/Chrome Handle, Right
21
4336329HOUSING, Remote Control- Black, w/Chrome Handle, Left
22
4184723BEZEL, Remote Control Housing- Fitting Vehicle Options: PH,PP,DH,DP
- Require Quantity: 2
22
4310652BEZEL, Remote Control Housing- APPLIQUE, Remote Control Bezel
- Fitting Vehicle Options: C,J,E,T
22
4310656BEZEL, Remote Control Housing- Chrome, w/Finish Plate, Right
- Fitting Vehicle Options: C,J,E,T
22
4310657BEZEL, Remote Control Housing- Chrome, w/Finish Plate, Left
- Fitting Vehicle Options: C,J,E,T
22
4342132BEZEL, Remote Control Housing- Right
- Fitting Vehicle Options: Limo
22
4342133BEZEL, Remote Control Housing- Left
- Fitting Vehicle Options: Limo
22
D405CX9BEZEL, Remote Control Housing- Fitting Vehicle Options: PL,DL
- Require Quantity: 2
23
4077896ARM REST (Refer to IT Section)
25
4318301HINGE, Body Half- Door Half
- Require Quantity: 4
25
4318350HINGE, Body Half- HINGE, Body Half
- Require Quantity: 4
25
X144BT8HINGE, Body Half- Upper, Right (COVER, Hinge)
- Fitting Vehicle Options: C,V,E,T
25
X145BT8HINGE, Body Half- Upper, Left (COVER, Hinge)
- Fitting Vehicle Options: C,V,E,T
25
X146BT8HINGE, Body Half- Lower, Right (COVER, Hinge)
- Fitting Vehicle Options: J,E,T
25
X147BT8HINGE, Body Half- Lower, Left (COVER, Hinge)
- Fitting Vehicle Options: J,E,T
26
4223932BEZEL w/FINISH PLATE, Door, Right- BEZEL w/FINISH PLATE, Door, Right
26
4223933BEZEL w/FINISH PLATE, Door, Right- BEZEL w/FINISH PLATE, Door, Left
27
6032527BOLT, Speaker Mtg. (DNS)
29
4312106ADAPTOR, Speaker, Right 29
4312107ADAPTOR, Speaker, Right
Genuine Mopar Parts, the Right Choice
MoparPartsGiant.com offers the wholesale prices for genuine 1985
Chrysler Town & Country parts. Parts like Door, Rear Shell, Handles & Controls are shipped directly from authorized Mopar dealers and backed by the manufacturer's warranty. Parts fit for the following vehicle options. Engine: 4 Cyl 2.2L, 4 Cyl 2.6L. Transmission: Automatic Transmission.