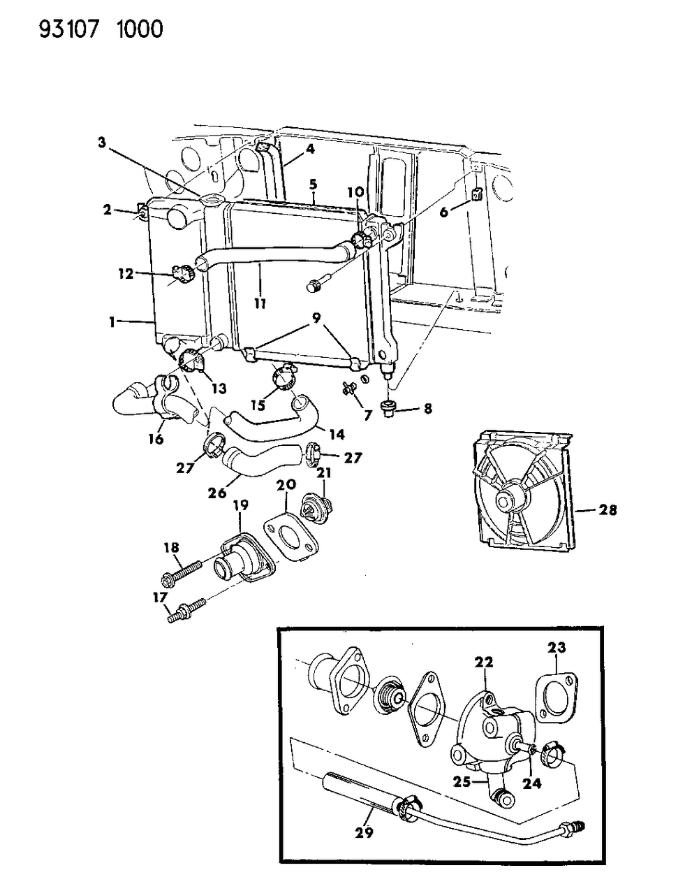
To ensure reliability, purchase Mopar part # 4667501 Water Box-ASSY.. The OEM parts should be used when the Mopar owners want to maximize their driving experience. The high-tech factories that produce these parts utilize sophisticated technology specifically designed to meet stringent factory requirements. Additionally, they are thoroughly tested and can thus be used with reliability by Mopar owners. This part fits specific Dodge Daytona models.
MoparPartsGiant.com is a leading supplier of genuine Mopar parts and accessories such as 4667501 Water Box-ASSY.. Wondering where to find exceptional quality and affordable OEM Mopar parts? You have already come to the right place. Our website boasts a huge selection of genuine Mopar parts at attractive prices. Further, all parts come with a manufacturer's warranty. For detailed Dodge parts information, click here.





