Wiring - Engine & Related Parts fit your 1995 Dodge Neon

Currently shopping for
1995 Dodge Neon
Change Vehicle
Categories Close X

Currently selected

Other Categories

Automatic Transmission
Brakes, Parking
Brakes, Service
Clutch
Cooling
Doors & Related Parts
Electrical - Instrument Panel And Consoles
Emission Systems
Engine
Exhaust
Frame & Bumpers
Front Suspension & Drive
Fuel
Heater & Air Conditioning
Interior Trim
Manual Transmission
Rear Suspension
Sheet Metal - Body
Steering
Wheels & Jacks
Wiper & Washers And Cylinder & Keys
Categories Close X

Currently selected

Other Categories

Automatic Transmission
Brakes, Parking
Brakes, Service
Clutch
Cooling
Doors & Related Parts
Electrical - Instrument Panel And Consoles
Emission Systems
Engine
Exhaust
Frame & Bumpers
Front Suspension & Drive
Fuel
Heater & Air Conditioning
Interior Trim
Manual Transmission
Rear Suspension
Sheet Metal - Body
Steering
Wheels & Jacks
Wiper & Washers And Cylinder & Keys
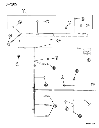
Diagram (1 of 1): ELECTRICAL WIRING--ENGINE & RELATED PARTS PL-BODY
1995 Dodge Neon Wiring - Engine & Related Parts Diagram
Enlarge Diagram
Sort by:
Ref No.
Ref No.
Part No. & Part Description
Price & Qty.
Part No. &
Part Description
  • 1
    4625668
    WIRING, Eng., 2.0, S.O.H.C.
    • WIRING, Eng., 2.0, S.O.H.C.
  • 1
    4661475
    WIRING, Eng., 2.0, S.O.H.C.
    • 2.0 Eng., D.O.H.C.
  • 2
    4450225
    INSULATOR, To H/Lp & Dash Wiring
  • 3
    4661318
    TERMINAL, To Starter Motor
  • 4
    4414902
    INSULATOR, Charge Temp. Sensor
  • 5
    56017760
    INSULATOR, M.A.P. Sensor
  • 11
    56017760
    INSULATOR, Coolant Temp. Sensor
  • 16
    4439081
    INSULATOR, Oil Pressure Switch
  • 19
    2096452
    TERMINAL, Alternator Feed
  • 4661838
    STRAP, Ign. Noise Ground
  • 4661203
    TROUGH, Engine Wiring, Shock Tower
Genuine Mopar Parts, the Right Choice
MoparPartsGiant.com offers the wholesale prices for genuine 1995 Dodge Neon parts. Parts like Wiring - Engine & Related Parts are shipped directly from authorized Mopar dealers and backed by the manufacturer's warranty. Parts fit for the following vehicle options. Engine: 4 Cyl 2.0L. Transmission: 3-Speed Automatic Transmission, 5-Speed Manual Transmission.