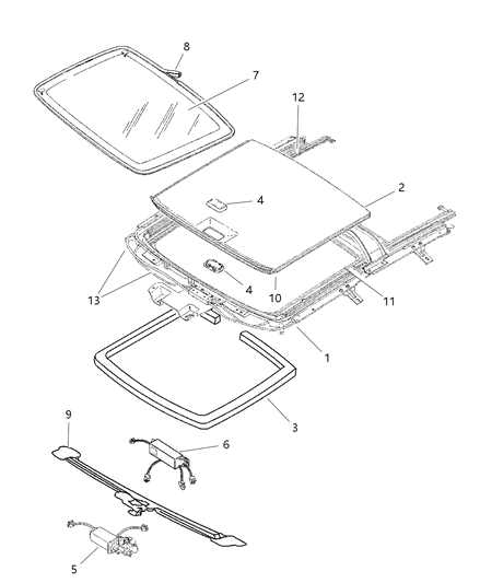
Diagram (1 of 1): Body Sheet Metal Except Doors Sunroof
Ref No.
Part No. & Part Description
Price & Qty.
Part No. &
Part Description
QX03RC1AASUNROOF Complete QX03RK4AASUNROOF Complete 
2 
RP61RC1AASUNSHADE Sunroof 2 
RP61RK4AASUNSHADE Sunroof 
3 
RP62RC1AATRIM LACE Sunroof 3 
RP62RK4AATRIM LACE Sunroof 
4 
RP65RC1AABEZEL Sunshade Handle 4 
RP65RJJAABEZEL Sunshade Handle 4 
RP65RK4AABEZEL Sunshade Handle 
6 
 
8 
 
5003881AA
DEFLECTOR Sunroof Wind
 
4805302AB
DEADENER Sun Roof
 
4805221AATUBE Sunroof Drain 
Genuine Mopar Parts, the Right Choice
MoparPartsGiant.com offers the wholesale prices for genuine 1997 
Chrysler Cirrus parts. Parts like Sunroof are shipped directly from authorized Mopar dealers and backed by the manufacturer's warranty. Parts fit for the following vehicle options. Engine: 4 Cyl 2.4L, 6 Cyl 2.5L. Transmission: 4-Speed Automatic Transmission.