Engine Oiling fit your 1997 Jeep Cherokee

Currently shopping for
1997 Jeep Cherokee
Change Vehicle
Categories Close X

Currently selected

Other Categories

Air Conditioning & Heater
Automatic Transmission
Body - Sheet Metal Except Doors
Clutch
Cooling
Doors & Related Parts
Electrical
Emission Systems
Engine Mounting
Exhaust
Exterior Ornamentation
Frames And Bumpers
Front Suspension & Drive
Fuel
Instrument Panel And Radios And Consoles
Interior Trim
Manual Transmission
Parking Brake
Propeller Shaft And Universal Joint
Rear Axle
Rear Suspension
Service Brakes
Speedometer Pinions
Steering
Transfer Case Model
Wheels, Covers & Jacks
Wiper & Lock Cylinder And Keys
Categories Close X

Currently selected

Other Categories

Air Conditioning & Heater
Automatic Transmission
Body - Sheet Metal Except Doors
Clutch
Cooling
Doors & Related Parts
Electrical
Emission Systems
Engine Mounting
Exhaust
Exterior Ornamentation
Frames And Bumpers
Front Suspension & Drive
Fuel
Instrument Panel And Radios And Consoles
Interior Trim
Manual Transmission
Parking Brake
Propeller Shaft And Universal Joint
Rear Axle
Rear Suspension
Service Brakes
Speedometer Pinions
Steering
Transfer Case Model
Wheels, Covers & Jacks
Wiper & Lock Cylinder And Keys
3 diagrams found for the vehicle you selected.Select your vehicle options to narrow down results.
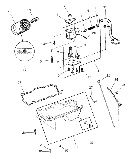
  • 1.Engine 2.5L Four Cylinder (Turbo Diesel) Engine Oiling 2.5L (ENC) Diesel Engine
    1997 Jeep Cherokee Engine Oiling Diagram 1
  • 2.Engine 2.5L Four Cylinder Engine Oiling 2.5L (EPE) Engine
    1997 Jeep Cherokee Engine Oiling Diagram 2
  • 3.Engine 4.0L Six Cylinder Engine Oiling 4.0L (ERH) Engine
    1997 Jeep Cherokee Engine Oiling Diagram 3
Sort by:
Ref No.
Ref No.
Part No. & Part Description
Price & Qty.
Part No. &
Part Description
  • 2
    Jeep 4778933
    4778933
    COVER Oil Pump
  • 3 Jeep 4864577
    4864577
    PLUG
    • Require Quantity: 2
    • Package Quantity: 1
    • Replaced By: 4864577AB
  • 4
    Jeep 4720726
    4720726
    BOLT Oil Feed To Turbo Adapter
  • 6
    Jeep 4720709
    4720709
    BOLT Turbo Oil Feed Adapter
  • 8
    Jeep 4720217
    4720217
    VALVE Oil Pressure Relief
  • 14
    Jeep 4778991
    4778991
    BOLT Oil Feed To Turbo Adapter
  • 15
    Jeep J3243116
    J3243116
    SUPPORT Engine Oil Pan
  • 16
    Jeep 53008907
    53008907
    LABEL Oil Filter Thread I.D.
  • 17
    5281090
    FILTER Engine Oil
    • Fitting Vehicle Options: EP0, ER0
    • Replaced By: 5281090AB
    $11.75 $8.21
    12
    Add To Cart
  • 17
    2AML00090A
    FILTER Engine Oil
    • Magneti Marelli
    • Fitting Vehicle Options: 72 - SPORT UTILITY 2-DR TYPE #2, 74 - SPORT UTILITY 4-DR TYPE #4, B - JEEP - 2WD (RHD), EP0, ER0, J - JEEP - 4WD, T - JEEP - 2WD, U - JEEP - 4WD (RHD)
    • Replaced By: 1AML0004AA
    $10.95 $7.63
    12
    Add To Cart
  • 17 Jeep 5281090BA
    5281090BA
    FILTER Engine Oil
    • BULK PACK (12)
    • Fitting Vehicle Options: EP0, ER0
    • Replaced By: 5281090BB
    $8.35 $5.83
    12
    Add To Cart
  • 17 Jeep FE00292
    FE00292
    FILTER Engine Oil
    • Canadian Aftermarket Part
    • Fitting Vehicle Options: EP0, ER0
  • 18
    5281090
    FILTER Engine Oil
    • Fitting Vehicle Options: EP0, ER0
    • Replaced By: 5281090AB
    $11.75 $8.21
    12
    Add To Cart
  • 18
    2AML00090A
    FILTER Engine Oil
    • Magneti Marelli
    • Fitting Vehicle Options: 72 - SPORT UTILITY 2-DR TYPE #2, 74 - SPORT UTILITY 4-DR TYPE #4, B - JEEP - 2WD (RHD), EP0, ER0, J - JEEP - 4WD, T - JEEP - 2WD, U - JEEP - 4WD (RHD)
    • Replaced By: 1AML0004AA
    $10.95 $7.63
    12
    Add To Cart
  • 18 Jeep 5281090BA
    5281090BA
    FILTER Engine Oil
    • BULK PACK (12)
    • Fitting Vehicle Options: EP0, ER0
    • Replaced By: 5281090BB
    $8.35 $5.83
    12
    Add To Cart
  • 18 Jeep FE00292
    FE00292
    FILTER Engine Oil
    • Canadian Aftermarket Part
    • Fitting Vehicle Options: EP0, ER0
  • 21
    Jeep 4778937
    4778937
    PICKUP Engine Oil
  • 23
    4778838
    FILTER Engine Oil
  • 23
    53020833
    PAN Engine Oil
  • 25
    4720366
    COOLER Engine Oil
  • 27
    Jeep J3243116
    J3243116
    SUPPORT Engine Oil Pan
  • 31
    4720367
    BOLT Banjo
    • Require Quantity: 3
    • Package Quantity: 1
    • Replaced By: 4720367AA
    $11.85 $8.27
    1
    Add To Cart
  • 32
    4720703
    WASHER Plain
    • Require Quantity: 11
    • Package Quantity: 1
    • Replaced By: 6106000AA
    $9.15 $6.29
    1
    Add To Cart
  • 33
    4864744
    BOLT Banjo
  • 34
    4886304AA
    ADAPTER Oil Pressure Sender
  • 37
    4886306AA
    BASE Oil Filter
Genuine Mopar Parts, the Right Choice
MoparPartsGiant.com offers the wholesale prices for genuine 1997 Jeep Cherokee parts. Parts like Engine Oiling are shipped directly from authorized Mopar dealers and backed by the manufacturer's warranty. Parts fit for the following vehicle options. Engine: 4 Cyl 2.5L, 6 Cyl 4.0L. Transmission: 4-Speed Automatic Transmission, 5-Speed Manual Transmission.