Cylinder Head fit your 2005 Jeep Wrangler

Currently shopping for
2005 Jeep Wrangler
Change Vehicle
Categories Close X

Currently selected

Other Categories

Air Conditioning & Heater
Automatic Transmission
Body - Sheet Metal Except Doors
Clutch
Cooling
Doors & Related Parts
Electrical
Emission Systems
Engine Mounting
Exhaust
Exterior Ornamentation
Frames And Bumpers
Front Suspension & Drive
Fuel
Instrument Panel And Radios And Consoles
Interior Trim
Labels
Manual Transmission
Mopar Accessories - Component Parts
Parking Brake
Propeller Shaft And Universal Joint
Rear Axle
Rear Suspension
Service Brakes
Speedometer Pinions
Steering
Transfer Case Model
Wheels, Covers & Jacks
Wiper & Lock Cylinder And Keys
Categories Close X

Currently selected

Other Categories

Air Conditioning & Heater
Automatic Transmission
Body - Sheet Metal Except Doors
Clutch
Cooling
Doors & Related Parts
Electrical
Emission Systems
Engine Mounting
Exhaust
Exterior Ornamentation
Frames And Bumpers
Front Suspension & Drive
Fuel
Instrument Panel And Radios And Consoles
Interior Trim
Labels
Manual Transmission
Mopar Accessories - Component Parts
Parking Brake
Propeller Shaft And Universal Joint
Rear Axle
Rear Suspension
Service Brakes
Speedometer Pinions
Steering
Transfer Case Model
Wheels, Covers & Jacks
Wiper & Lock Cylinder And Keys
2 diagrams found for the vehicle you selected.Select your vehicle options to narrow down results.
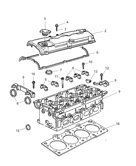
  • 1.Engine 2.4L Four Cylinder Cylinder Head, 2.4L [ED1]
    2005 Jeep Wrangler Cylinder Head Diagram 1
  • 2.Engine 4.0L Six Cylinder Cylinder Head, 4.0L (ERH)
    2005 Jeep Wrangler Cylinder Head Diagram 2
Sort by:
Ref No.
Ref No.
Part No. & Part Description
Price & Qty.
Part No. &
Part Description
Genuine Mopar Parts, the Right Choice
MoparPartsGiant.com offers the wholesale prices for genuine 2005 Jeep Wrangler parts. Parts like Cylinder Head are shipped directly from authorized Mopar dealers and backed by the manufacturer's warranty. Parts fit for the following vehicle options. Engine: 4 Cyl 2.4L, 6 Cyl 4.0L. Transmission: 4-Speed Automatic Transmission, 6-Speed Manual Transmission.