Exhaust System fit your 2008 Chrysler Sebring

Currently shopping for
2008 Chrysler Sebring
Change Vehicle
Categories Close X

Currently selected

Other Categories

Air Conditioners & Heater
Automatic Transmission
Body - Sheet Metal Except Doors
Brakes
Clutch
Cooling
Differential And Drive Line
Doors, Door Mirrors And Related Parts
Electrical
Emission Controls
Engine
Exterior Ornamentation
Frame, Bumper And Fascia
Front Suspension
Fuel
Glass
Interior Trim
Labels
Manual Transmission
Mopar Accessories - Component Parts
Rear Suspension
Restraints
Steering
Transfer Case
Wheels
Categories Close X

Currently selected

Other Categories

Air Conditioners & Heater
Automatic Transmission
Body - Sheet Metal Except Doors
Brakes
Clutch
Cooling
Differential And Drive Line
Doors, Door Mirrors And Related Parts
Electrical
Emission Controls
Engine
Exterior Ornamentation
Frame, Bumper And Fascia
Front Suspension
Fuel
Glass
Interior Trim
Labels
Manual Transmission
Mopar Accessories - Component Parts
Rear Suspension
Restraints
Steering
Transfer Case
Wheels
4 diagrams found for the vehicle you selected.Select your vehicle options to narrow down results.
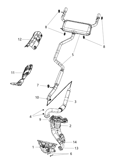
  • 1.Exhaust Exhaust System Exhaust System 2.0L [ECN], 2.4L [ED3], 2.4L [EDG]
    2008 Chrysler Sebring Exhaust System Diagram 1
  • 2.Exhaust Exhaust System Exhaust System 2.0L Diesel [ECD]
    2008 Chrysler Sebring Exhaust System Diagram 2
  • 3.Exhaust Exhaust System Exhaust System 2.7L [EER]
    2008 Chrysler Sebring Exhaust System Diagram 3
  • 4.Exhaust Exhaust System Exhaust System 3.5L [EGF]
    2008 Chrysler Sebring Exhaust System Diagram 4
Sort by:
Ref No.
Ref No.
Part No. & Part Description
Price & Qty.
Part No. &
Part Description
  • 1 Chrysler 5105126AD
    5105126AD
    CONVERTER Catalytic
    • [NAA,NA1,NAM]
    • Fitting Vehicle Options: 27 - 2-DR CONVERTIBLE, 41 - SEDAN/QUAD CAB SWB, C - CHRYSLER, ECN, ED3 - 4 Cyl 2.4L DOHC Dual VVT
    $2310.00 $1558.60
    1
    Add To Cart
  • 1 Chrysler 5105049AC
    5105049AC
    CONVERTER Catalytic
    • [NAE]
    • Fitting Vehicle Options: 27 - 2-DR CONVERTIBLE, 41 - SEDAN/QUAD CAB SWB, C - CHRYSLER, ED3 - 4 Cyl 2.4L DOHC Dual VVT
    $2620.00 $1767.00
    1
    Add To Cart
  • 1 Chrysler 5105145AB
    5105145AB
    CONVERTER Catalytic
    • Fitting Vehicle Options: 27 - 2-DR CONVERTIBLE, 41 - SEDAN/QUAD CAB SWB, C - CHRYSLER, EDG - 4 Cyl 2.4L PZEV Dual VVT, F - BRAND AWD
    • Replaced By: 5105145AC
  • 4 Chrysler 5085556AE
    5085556AE
    MUFFLER AND TAILPIPE Exhaust
    • Fitting Vehicle Options: 41 - SEDAN/QUAD CAB SWB, C - CHRYSLER, ECN, ED3 - 4 Cyl 2.4L DOHC Dual VVT
    • Replaced By: 5085556AL
    $647.00 $441.18
    1
    Add To Cart
  • 4 Chrysler 5085741AE
    5085741AE
    MUFFLER AND TAILPIPE Exhaust
    • Fitting Vehicle Options: 41 - SEDAN/QUAD CAB SWB, C - CHRYSLER, EDG - 4 Cyl 2.4L PZEV Dual VVT
    • Replaced By: 5085741AM
    $340.00 $234.31
    1
    Add To Cart
  • 4
    Chrysler 5171095AD
    5171095AD
    MUFFLER AND TAILPIPE Exhaust
    • Fitting Vehicle Options: 27 - 2-DR CONVERTIBLE, C - CHRYSLER, ED3 - 4 Cyl 2.4L DOHC Dual VVT
  • 6
    4766177AA
    ISOLATOR Exhaust
    • Fitting Vehicle Options: 27 - 2-DR CONVERTIBLE, 41 - SEDAN/QUAD CAB SWB, C - CHRYSLER
    $11.55 $7.98
    1
    Add To Cart
  • 6
    5105110AB
    ISOLATOR Exhaust
    • Fitting Vehicle Options: 27 - 2-DR CONVERTIBLE, 41 - SEDAN/QUAD CAB SWB, C - CHRYSLER
    • Require Quantity: 2
    • Package Quantity: 4
    $8.65 $5.94
    4
    Add To Cart
  • 6
    5105110AB
    ISOLATOR Exhaust
    • Fitting Vehicle Options: 27 - 2-DR CONVERTIBLE, 41 - SEDAN/QUAD CAB SWB, C - CHRYSLER, ECD, ECN, ED3 - 4 Cyl 2.4L DOHC Dual VVT, EDG - 4 Cyl 2.4L PZEV Dual VVT, EER - 6 Cyl 2.7L DOHC MPI, F - BRAND AWD
    $8.65 $5.94
    4
    Add To Cart
Genuine Mopar Parts, the Right Choice
MoparPartsGiant.com offers the wholesale prices for genuine 2008 Chrysler Sebring parts. Parts like Exhaust System are shipped directly from authorized Mopar dealers and backed by the manufacturer's warranty. Parts fit for the following vehicle options. Engine: 4 Cyl 2.4L, 6 Cyl 2.7L, 6 Cyl 3.5L. Transmission: 4-Speed Automatic Transmission, 6-Speed Automatic Transmission.