Cables, Parking Brake fit your 1984 Chrysler Fifth Avenue

Currently shopping for
1984 Chrysler Fifth Avenue
Change Vehicle
Vehicle Options
Automatic Transmission A999
Vehicle Options
Automatic Transmission A999
Categories Close X

Currently selected

Brakes, Parking

Other Categories

Automatic Transmission
Body - Doors And Related Parts
Body - Exterior Ornamentation
Body - Sheet Metal Except Doors
Brakes, Service
Cooling
Electrical
Electrical - Instrument Panel And Consoles
Emission Systems
Engine
Exhaust
Frame & Bumpers
Fuel
Heater & Air Conditioning
Propeller Shaft
Rear Axle
Rear Suspension
Steering
Wheels
Wiper & Washers And Cylinder & Keys
Categories Close X

Currently selected

Brakes, Parking

Other Categories

Automatic Transmission
Body - Doors And Related Parts
Body - Exterior Ornamentation
Body - Sheet Metal Except Doors
Brakes, Service
Cooling
Electrical
Electrical - Instrument Panel And Consoles
Emission Systems
Engine
Exhaust
Frame & Bumpers
Fuel
Heater & Air Conditioning
Propeller Shaft
Rear Axle
Rear Suspension
Steering
Wheels
Wiper & Washers And Cylinder & Keys
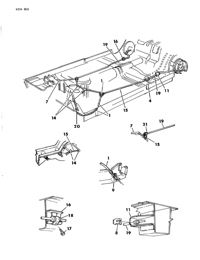
Diagram (1 of 1): BRAKES, PARKING CABLES, PARKING BRAKE B,F,G
1984 Chrysler Fifth Avenue Cables, Parking Brake Diagram
Enlarge Diagram
Sort by:
Ref No.
Ref No.
Part No. & Part Description
Price & Qty.
Part No. &
Part Description
  • 1
    3766292
    CABLE, Frt.
  • 7
    3880073
    HOOK, Int. Cable Equalizer
  • 9
    3467939
    RETAINER, Cable Lower
    • Require Quantity: 2
  • 11
    3570345
    BRACKET, Rear Side Rail Cable, Lt.
  • 14
    3766289
    HOOK, Inter. Cable Guide
    • Require Quantity: 2
  • 15
    3880072
    CABLE, Inter.
  • 16
    4314662
    BRACKET, Rear Side Rail Cable, Rt.
  • 18
    3699186
    CLAMP, Rear Cable Anchor, Rt.
  • 19
    3880074
    CABLE, Rear, Exc. Police & Taxi
    • CABLE, Rear, Exc. Police & Taxi
    • Fitting Vehicle Options: All
    • Require Quantity: 2
  • 19
    3880075
    CABLE, Rear, Exc. Police & Taxi
    • Police & Taxi
    • Fitting Vehicle Options: F,G
    • Require Quantity: 2
  • 20
    2259118
    SEAL, Frt. Floor Pan Cable
Genuine Mopar Parts, the Right Choice
MoparPartsGiant.com offers the wholesale prices for genuine 1984 Chrysler Fifth Avenue parts. Parts like Cables, Parking Brake are shipped directly from authorized Mopar dealers and backed by the manufacturer's warranty. Parts fit for the following vehicle options. Engine: 8 Cyl 5.2L. Transmission: Automatic Transmission.