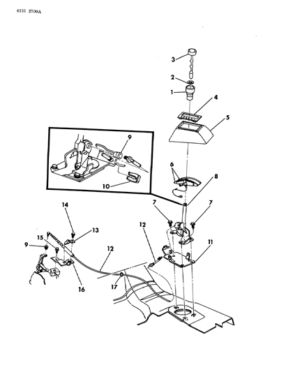
Diagram (1 of 1): TRANSMISSION, AUTO. CONTROLS, GEARSHIFT, FLOOR SHIFT AUTOMATIC TRANSAXLE M,Z
Ref No.
Part No. & Part Description
Price & Qty.
Part No. &
Part Description
2
5211832
CLIP, Gearshift Knob
3
4019991
BUTTON, Gearshift Knob
4
5209966
LENS, Console Gear Selector Indicator
6
4221479
BRACKET, w/Slide, Lamp And Clip, Console Gearshift Selector Indicator
8
5211920
ACTUATOR, Gearshift Control
10 
11
5211875
BRACKET, Gearshift Control Mounting
12
4377301
CABLE, Gearshift Control, 52.26" Lg.
13
5211887
CLAMP, Gearshift Control
14
6100560
BOLT, Cable Mounting Front, M6x1.00x35
15
6100315
SCREW, Bracket Mtg. Front, M8x1.25x35
16
4269802
BRACKET, Gearshift Control Cable Mounting Front
17 
Genuine Mopar Parts, the Right Choice
MoparPartsGiant.com offers the wholesale prices for genuine 1984
Dodge Charger parts. Parts like Controls, Gearshift, Floor Shaft are shipped directly from authorized Mopar dealers and backed by the manufacturer's warranty. Parts fit for the following vehicle options. Engine: 4 Cyl 1.6L, 4 Cyl 2.2L. Transmission: 4-Speed Manual Transmission, 5-Speed Manual Transmission, Automatic Transmission.