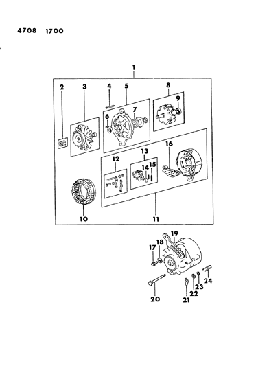
Diagram (1 of 1): ELECTRICAL ALTERNATOR J-A-K-F-W ENGINES
Ref No.
Part No. & Part Description
Price & Qty.
Part No. &
Part Description
1
MD034130ALTERNATOR,Assy. 45 Amp. J Eng.- 45 Amp. K Eng.
ALTERNATOR,Assy. 45 Amp. J Eng. - Fitting Vehicle Options: 24F,44
1
MD034132ALTERNATOR,Assy. 45 Amp. J Eng.- 50 Amp. K Eng. 8 Speed
- Fitting Vehicle Options: 24F,44
1
MD063781ALTERNATOR,Assy. 45 Amp. J Eng.- 45 Amp. A Eng.
- Fitting Vehicle Options: 27
1
MD064066ALTERNATOR,Assy. 45 Amp. J Eng.- 45 Amp. W Eng.
- Fitting Vehicle Options: 27
1
MD086047ALTERNATOR,Assy. 45 Amp. J Eng.- A Eng.
- Fitting Vehicle Options: 45
1
MD086048ALTERNATOR,Assy. 45 Amp. J Eng.- 65 Amp. F Eng.
- Fitting Vehicle Options: 24R
3
MD607571PULLEY ASSEMBLY- PULLEY ASSEMBLY
- Fitting Vehicle Options: 24F,44, 27
3
MD607819PULLEY ASSEMBLY- Fitting Vehicle Options: 24R
3
MD607820PULLEY ASSEMBLY- Fitting Vehicle Options: 45
4
MD602938SCREW SET- SCREW SET
- Fitting Vehicle Options: 24F,24R,4445
4
MD607212SCREW SET- Fitting Vehicle Options: 27
5
MD607564BRACKET ASSEMBLY, Front- BRACKET ASSEMBLY, Front
- Fitting Vehicle Options: 24F,44
5
MD607683BRACKET ASSEMBLY, Front- Fitting Vehicle Options: 27
5
MD607815BRACKET ASSEMBLY, Front- Fitting Vehicle Options: 45
5
MD607821BRACKET ASSEMBLY, Front- Fitting Vehicle Options: 24R
6
MD602938SCREW SET- Fitting Vehicle Options: 24R,27
6
MD607212SCREW SET- SCREW SET
- Fitting Vehicle Options: 24F,44,45
7
MD602859BEARING, Front- BEARING, Front
- Fitting Vehicle Options: 24F,27,44
7
MM502264BEARING, Front- Fitting Vehicle Options: 24R,45
8
MD607565ROTOR ASSEMBLY, Exc. 8 Speed- ROTOR ASSEMBLY, Exc. 8 Speed
- Fitting Vehicle Options: 24F,27,44
8
MD607604ROTOR ASSEMBLY, Exc. 8 Speed- 8 Speed
- Fitting Vehicle Options: 24F,44
8
MD607816ROTOR ASSEMBLY, Exc. 8 Speed- Fitting Vehicle Options: 24R,45
10
MD607515STATOR ASSEMBLY, Exc. 8 Speed- Fitting Vehicle Options: 24R,45
10
MD607566STATOR ASSEMBLY, Exc. 8 Speed- STATOR ASSEMBLY, Exc. 8 Speed
- Fitting Vehicle Options: 24F,27,44
10
MD607605STATOR ASSEMBLY, Exc. 8 Speed- 8 Speed
- Fitting Vehicle Options: 24F,44
11
MD607647BRACKET ASSEMBLY, Rear- BRACKET ASSEMBLY, Rear
- Fitting Vehicle Options: 24F,44
11
MD607684BRACKET ASSEMBLY, Rear- Fitting Vehicle Options: 27
11
MD607817BRACKET ASSEMBLY, Rear- Fitting Vehicle Options: 24R,45
13
MD607372TC REGULATOR ASSEMBLY- Fitting Vehicle Options: 24R,45
13
MD607570TC REGULATOR ASSEMBLY- TC REGULATOR ASSEMBLY
- Fitting Vehicle Options: 24F,27,44
16
MD607568RECTIFIER ASSEMBLY- RECTIFIER ASSEMBLY
- Fitting Vehicle Options: 24F,27,44
16
MD607818RECTIFIER ASSEMBLY- Fitting Vehicle Options: 24R,45
17 
18 
19
MD001390BRACE, Altr. K Eng.- Fitting Vehicle Options: 45
19
MD009050BRACE, Altr. K Eng.- BRACE, Altr. K Eng.
- Fitting Vehicle Options: 24F,44
19
MD027751BRACE, Altr. K Eng.- Fitting Vehicle Options: 24R,27
19
MD030860BRACE, Altr. K Eng.- J Eng.
- Fitting Vehicle Options: 24F,44
20
MD001515BOLT, (8x82)- BOLT, (8x82)
- Fitting Vehicle Options: 24F,44
20 
Genuine Mopar Parts, the Right Choice
MoparPartsGiant.com offers the wholesale prices for genuine 1984
Dodge Colt parts. Parts like Alternator are shipped directly from authorized Mopar dealers and backed by the manufacturer's warranty. Parts fit for the following vehicle options. Engine: . Transmission: , 4-Speed Manual Transmission, Automatic Transmission.