Windshield Wiper System fit your 1985 Chrysler Laser

Currently shopping for
1985 Chrysler Laser
Change Vehicle
Categories Close X

Currently selected

Other Categories

Automatic Transmission
Body - Doors And Related Parts
Body - Exterior Ornamentation
Body - Sheet Metal Except Doors
Brakes, Parking
Brakes, Service
Clutch
Cooling
Electrical
Electrical - Instrument Panel And Consoles
Emission Systems
Engine
Exhaust
Frame & Bumpers
Front Suspension & Drive
Fuel
Heater & Air Conditioning
Manual Transmission
Propeller Shaft
Rear Suspension
Steering
Wheels
Categories Close X

Currently selected

Other Categories

Automatic Transmission
Body - Doors And Related Parts
Body - Exterior Ornamentation
Body - Sheet Metal Except Doors
Brakes, Parking
Brakes, Service
Clutch
Cooling
Electrical
Electrical - Instrument Panel And Consoles
Emission Systems
Engine
Exhaust
Frame & Bumpers
Front Suspension & Drive
Fuel
Heater & Air Conditioning
Manual Transmission
Propeller Shaft
Rear Suspension
Steering
Wheels
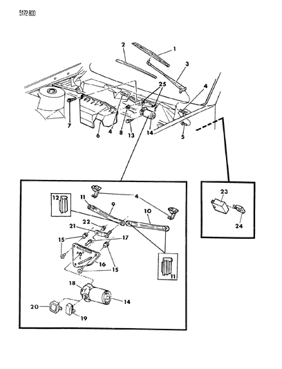
Diagram (1 of 1): WIPER - WASHER AND CYLINDER & KEYS WINDSHIELD WIPER SYSTEM V,C 24
1985 Chrysler Laser Windshield Wiper System Diagram
Enlarge Diagram
Sort by:
Ref No.
Ref No.
Part No. & Part Description
Price & Qty.
Part No. &
Part Description
  • 1
    3799850
    BLADE w/REFILL, Wiper
    • Require Quantity: 2
  • 2
    3799335
    REFILL, Wiper Blade
    • Require Quantity: 2
  • 3
    3799759
    ARM, Wiper
    • w/Nozzle
    • Require Quantity: 2
  • 3
    3799831
    ARM, Wiper
    • w/o Nozzle
    • Require Quantity: 2
  • 5
    6031754
    SCREW
    • Require Quantity: 4
  • 6
    3799859
    COVER w/SEAL, Motor
  • 7
    6031951
    SCREW w/WASHER
    • Require Quantity: 2
  • 8
    6500502
    NUT
    • NUT
    • Require Quantity: 2
  • 8
    6501154
    NUT
    • SCREW
  • 9
    3799595
    LINK w/BUSHING, Wiper, Right
  • 13
    6501154
    SCREW
  • 15
    4339452
    GROMMET and SPACER PACKAGE, Motor
  • 16
    4339448
    BRACKET, Motor Mtg.
  • 18
    4270813
    COVER, Wiper Motor Gearbox
  • 19
    4270869
    COVER, Wiper Motor Terminal
  • 20
    4342226
    SUPPRESSOR, Wiper Radio Noise
  • 23
    4312002
    CONTROL, Intermittent Wipe
  • 24
    4312004
    BRACKET, Intermittent Wipe Control
  • 25
    4337358
    REINFORCEMENT, Cowl Top Wiper Motor Mtg.
    • Up to 12-6-84
  • 25
    4371696
    REINFORCEMENT, Cowl Top Wiper Motor Mtg.
    • After 12-6-84
Genuine Mopar Parts, the Right Choice
MoparPartsGiant.com offers the wholesale prices for genuine 1985 Chrysler Laser parts. Parts like Windshield Wiper System are shipped directly from authorized Mopar dealers and backed by the manufacturer's warranty. Parts fit for the following vehicle options. Engine: 4 Cyl 2.2L. Transmission: 5-Speed Manual Transmission, Automatic Transmission.