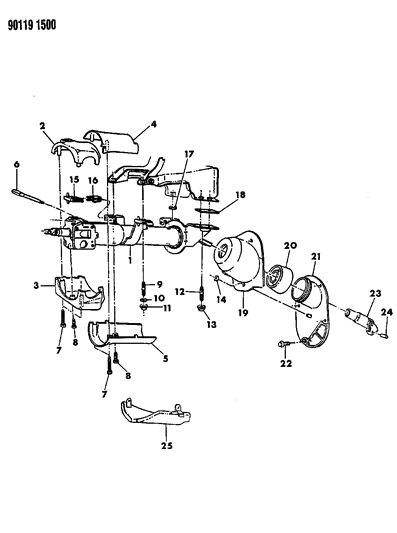
Diagram (1 of 1): STEERING COLUMN, STEERING, UPPER AND LOWER G,J BODY
Ref No.
Part No. & Part Description
Price & Qty.
Part No. &
Part Description
1
4326813COLUMN, Assy. w/o Tilt 1
4326815COLUMN, Assy. w/o Tilt
2
P967JV8SHROUD, Upper w/o Tilt (Paint As Req.)- SHROUD, Upper w/o Tilt (Paint As Req.)
4
P973JV8
SHROUD, Upper (Paint As Req.)
5
P967JV8
SHROUD, Lower (Paint As Req.)
6 
11 
13 
Genuine Mopar Parts, the Right Choice
MoparPartsGiant.com offers the wholesale prices for genuine 1990
Dodge Daytona parts. Parts like Column, Steering, Upper And Lower are shipped directly from authorized Mopar dealers and backed by the manufacturer's warranty. Parts fit for the following vehicle options. Engine: 4 Cyl 2.2L, 4 Cyl 2.5L, 6 Cyl 3.0L. Transmission: 3-Speed Automatic Transmission, 4-Speed Automatic Transmission, 5-Speed Manual Transmission.