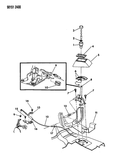
Diagram (1 of 1): TRANSMISSION, AUTO. CONTROLS, GEARSHIFT, FLOOR SHIFT AUTOMATIC TRANSAXLE L BODY
Ref No.
Part No. & Part Description
Price & Qty.
Part No. &
Part Description
2
5211832
CLIP, Gearshift Knob
3
4019991
BUTTON, Gearshift Knob
4
5209966
LENS, Console Gear Selector Indicator
6
4221479
BRACKET, w/Slide, Lamp and Clip, Console Gearshift Selector Indicator
7
6100577SCREW, w/Washer, M8x1.25x35
8
5211920
ACTUATOR, Gearshift Control
10 
14
6100560
BOLT, Cable Mounting Front, M6x1.00x35
15
6100315
SCREW, Bracket Mounting Front, M8x1.25x35
16
4471156
BRACKET, w/Clamp, G/Shift Control Cable Mtg. Front
17 
17
4419687GROMMET, G/Shift Cable to Dash Panel, Flat Type
Genuine Mopar Parts, the Right Choice
MoparPartsGiant.com offers the wholesale prices for genuine 1990
Dodge Omni parts. Parts like Controls, Gearshift, Floor Shaft are shipped directly from authorized Mopar dealers and backed by the manufacturer's warranty. Parts fit for the following vehicle options. Engine: 4 Cyl 2.2L. Transmission: 3-Speed Automatic Transmission, 5-Speed Manual Transmission.