Crew Cab, Rear Seat Hardware, 60/40 fit your 2010 Dodge Ram 1500

Currently shopping for
2010 Dodge Ram 1500
Change Vehicle
Categories Close X
Categories Close X
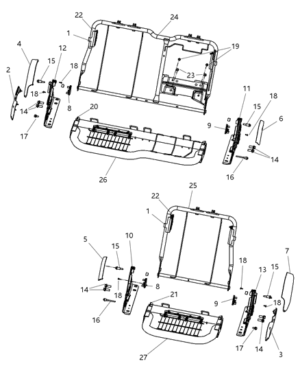
Diagram (1 of 1): Interior Trim Crew Cab, Rear Seat Hardware 60/40
2010 Dodge Ram 1500 Crew Cab, Rear Seat Hardware, 60/40 Diagram
Enlarge Diagram
Sort by:
Ref No.
Ref No.
Part No. & Part Description
Price & Qty.
Part No. &
Part Description
  • 4 Dodge 1NN42DK2AA
    1NN42DK2AA
    COVER Seat Track
    • [-KT], [CSX]
      [KT]
    • Fitting Vehicle Options: *GJ - *GJ, *M9 - *M9, *MJ - *MJ, *VL - *VL, 1 - Lt. Duty DODGE 2WD, 6 - Lt. Duty DODGE 4WD, 98 - CREW CAB W.B.9
  • 4 Dodge 1NN42XDVAA
    1NN42XDVAA
    COVER Seat Track
    • [DV]
      [V3]
    • Fitting Vehicle Options: *GJ - *GJ, *M9 - *M9, *VL - *VL, 1 - Lt. Duty DODGE 2WD, 6 - Lt. Duty DODGE 4WD, 98 - CREW CAB W.B.9
  • 8 Dodge 1NN46DK2AA
    1NN46DK2AA
    COVER Seat Track
    • [KT]
    • Fitting Vehicle Options: *GJ - *GJ, *M9 - *M9, 1 - Lt. Duty DODGE 2WD, 6 - Lt. Duty DODGE 4WD, 98 - CREW CAB W.B.9
    • Require Quantity: 2
    • Package Quantity: 1
    $21.70 $15.15
    1
    Add To Cart
  • 8 Dodge 1NN46DK2AA
    1NN46DK2AA
    COVER Seat Track
    • [KT]
    • Fitting Vehicle Options: *VL - *VL, 1 - Lt. Duty DODGE 2WD, 6 - Lt. Duty DODGE 4WD, 98 - CREW CAB W.B.9
    $21.70 $15.15
    1
    Add To Cart
  • 8 Dodge 1NN46XDVAA
    1NN46XDVAA
    COVER Seat Track
    • [DV]
    • Fitting Vehicle Options: *VL - *VL, 1 - Lt. Duty DODGE 2WD, 6 - Lt. Duty DODGE 4WD, 98 - CREW CAB W.B.9
    $24.00 $16.78
    1
    Add To Cart
  • 8 Dodge 1NN46XDVAA
    1NN46XDVAA
    COVER Seat Track
    • [DV]
      [V3]
    • Fitting Vehicle Options: *GJ - *GJ, *M9 - *M9, 1 - Lt. Duty DODGE 2WD, 6 - Lt. Duty DODGE 4WD, 98 - CREW CAB W.B.9
    • Require Quantity: 2
    • Package Quantity: 1
    $24.00 $16.78
    1
    Add To Cart
  • 9 Dodge 1NN47DK2AA
    1NN47DK2AA
    COVER Seat Track
    • [KT]
    • Fitting Vehicle Options: *GJ - *GJ, *M9 - *M9, 1 - Lt. Duty DODGE 2WD, 6 - Lt. Duty DODGE 4WD, 98 - CREW CAB W.B.9
    • Require Quantity: 2
    • Package Quantity: 1
    $4.60 $3.20
    1
    Add To Cart
  • 9 Dodge 1NN47DK2AA
    1NN47DK2AA
    COVER Seat Track
    • [KT]
    • Fitting Vehicle Options: *VL - *VL, 1 - Lt. Duty DODGE 2WD, 6 - Lt. Duty DODGE 4WD, 98 - CREW CAB W.B.9
    $4.60 $3.20
    1
    Add To Cart
  • 9 Dodge 1NN47XDVAA
    1NN47XDVAA
    COVER Seat Track
    • [DV]
      [V3]
    • Fitting Vehicle Options: *GJ - *GJ, *M9 - *M9, 1 - Lt. Duty DODGE 2WD, 6 - Lt. Duty DODGE 4WD, 98 - CREW CAB W.B.9
    • Require Quantity: 2
    • Package Quantity: 1
  • 9 Dodge 1NN47XDVAA
    1NN47XDVAA
    COVER Seat Track
    • [DV]
    • Fitting Vehicle Options: *VL - *VL, 1 - Lt. Duty DODGE 2WD, 6 - Lt. Duty DODGE 4WD, 98 - CREW CAB W.B.9
  • 15 Dodge 68050623AA
    68050623AA
    SCREW Seat
    • Fitting Vehicle Options: *GJ - *GJ, 1 - Lt. Duty DODGE 2WD, 6 - Lt. Duty DODGE 4WD, 98 - CREW CAB W.B.9
    • Require Quantity: 4
    • Package Quantity: 1
    $6.00 $4.14
    1
    Add To Cart
  • 15 Dodge 68050623AA
    68050623AA
    SCREW Seat
    • Fitting Vehicle Options: *AJ - *AJ, *M9 - *M9, *VL - *VL, 1 - Lt. Duty DODGE 2WD, 6 - Lt. Duty DODGE 4WD, 98 - CREW CAB W.B.9
    • Require Quantity: 6
    • Package Quantity: 1
    $6.00 $4.14
    1
    Add To Cart
  • 23
    5139638AB
    NUT
    • Require Quantity: 2
    • Package Quantity: 1
    $11.05 $7.69
    1
    Add To Cart
Genuine Mopar Parts, the Right Choice
MoparPartsGiant.com offers the wholesale prices for genuine 2010 Dodge Ram 1500 parts. Parts like Crew Cab, Rear Seat Hardware, 60/40 are shipped directly from authorized Mopar dealers and backed by the manufacturer's warranty. Parts fit for the following vehicle options. Engine: 6 Cyl 3.7L, 8 Cyl 4.7L, 8 Cyl 5.7L. Transmission: 4-Speed Automatic Transmission, 5-Speed Automatic Transmission, Automatic Transmission.