2 diagrams found for the vehicle you selected.Select your vehicle options to narrow down results.
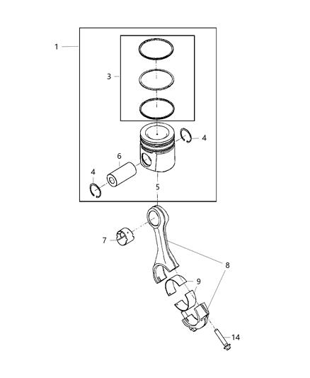
- 1.6.4L Gas; Engine Pistons, Piston Rings, Connecting Rods And Connecting Rod Bearings 6.4L [ESB]
- 2.6.7L Turbo Diesel; Engine Pistons, Piston Rings, Connecting Rods And Connecting Rod Bearings 6.7L Diesel [ETK]
Ref No.
Part No. & Part Description
Price & Qty.
Part No. &
Part Description
4 
6 
Genuine Mopar Parts, the Right Choice
MoparPartsGiant.com offers the wholesale prices for genuine 2017
Ram 5500 parts. Parts like Pistons , Piston Rings , Connecting Rods And Connecting Rod Bearings are shipped directly from authorized Mopar dealers and backed by the manufacturer's warranty. Parts fit for the following vehicle options. Engine: 6 Cyl 6.7L Diesel, 8 Cyl 6.4L. Transmission: 6-Speed Automatic Transmission, 6-Speed Manual Transmission.